【导读】王健林公司名下股权5.1亿元起拍
中国基金报记者 含章
王健林名下资产再遭抛售!
12月26日,天眼查信息显示,大连万达集团股份有限公司持有的上海万达小额贷款有限公司70%股权被法院预告拍卖,评估价约为7.31亿元,起拍价定为约5.12亿元。此次拍卖由上海市第二中级人民法院发起,拍卖时间为2026年1月29日至2月1日。

公开信息显示,此次被拍卖的上海万达小额贷款有限公司成立于2016年,是万达集团旗下金融板块的组成部分,主营发放贷款以及相关咨询业务。其主要股东为大连万达集团、上海万达网络金融服务有限公司、大连万达商业管理集团,分别持股80%、12.86%、7.14%。王建林作为实际控制人,持股占比达89.99%。
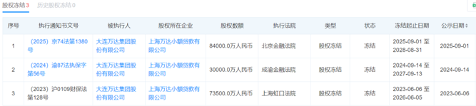
目前该公司尚涉及3条股权冻结信息。早在2023年6月,上海市虹口区人民法院便冻结了其数额为7.35亿元的股权。最近一次则发生在2025年9月,北京金融法院再次冻结了万达集团持有的该公司股权,冻结数额高达8.4亿元。

近年来,王健林的资产抛售“大戏”不断上演。
2025年年初,坤华股权投资连续五次出手,先后收购了宣城、铜陵、安阳、四平、扬州5座万达广场。4月,王健林将万达酒店管理公司100%股权卖给同程旅行。今年5月,王健林更是一次性将48家万达广场“打包”出售。据不完全统计,万达集团这几年已累计出售超过80座万达广场。7月,又以2.4亿元将快钱金融30%股权卖给中国儒意旗下全资附属公司。近日,快钱金融发生了工商变更,万达旗下的上海万达网络金融服务有限公司已退出股东行列。
除了加速出售旗下资产以获取现金流外,王健林还出质万达集团股权。天眼查司法案件显示,今年1月,王健林新增1条股权出质信息,出质股权标的企业为大连万达集团股份有限公司,质权人为珠海万赢企业管理有限公司,出质股权数额为240万股。
天眼查信息显示,大连万达集团股份有限公司成立于1992年9月,注册资本为10亿元,王健林担任法定代表人、董事长,受益股份达98%。截至目前,万达集团共有12条被执行人信息,累计被执行金额已超过81亿元。此外,该公司还存在50条股权冻结信息。
校对:纪元
制作:舰长
审核:木鱼
《中国基金报》对本平台所刊载的原创内容享有著作权,未经授权禁止转载,否则将追究法律责任。
授权转载合作联系人:于先生(电话:0755-82468670)
