【导读】债券交易内控不足,川财证券被出具警示函
见习记者 舍梨
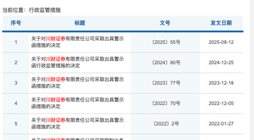
8月12日,四川证监局对川财证券采取出具警示函的措施
经查,川财证券债券交易业务存在公司内部制度建设与内控机制有待完善,从业人员管理与信息披露不到位,业务合规审查落实不到位,交易行为管理有待完善等多项问题。

自2022年以来,川财证券已经连续第四年被四川证监局出具警示函。此前公司被警示的问题包括:债券承销业务个别项目尽职调查不充分,内部控制、风险控制有效性不足,对销售的基金产品准入的集中统一管理不到位等。

具体来看,2022年1月,四川证监局对川财证券出具警示函称,公司存在四项问题:一是对销售的基金产品准入的集中统一管理不到位;二是个别宣传推介材料用语不规范且未提交合规审查;三是基金销售业务人员资质管理不到位;四是场内基金销售投资者适当性管理不到位。
在债券承销业务方面,四川证监局对川财证券出具了两次警示函。2022年12月,四川证监局称,发现川财证券存在债券承销业务内部控制不完善,个别项目尽职调查不充分,内核意见跟踪落实不到位,受托管理履职不足;个别资产证券化项目存续期管理不到位,信息披露不到位等问题。
2023年12月,四川证监局又对川财证券出具警示函,发现川财证券存在债券承销业务个别项目尽职调查不充分,内部控制、风险控制有效性不足等问题。
2024年12月,四川证监局披露《关于对川财证券有限责任公司采取出具警示函行政监管措施的决定》,指出公司存在董事及监事设置情况不符合规定、董事及监事的选举未采取累积投票制度、未建立董事及监事绩效考核与薪酬管理制度等问题。
川财证券有限责任公司成立于1988年7月,前身为经四川省人民政府批准、由四川省财政出资兴办的四川省川财证券公司,是全国首家由财政国债中介机构整体转制而成的专业证券公司。
从业绩表现来看,2024年川财证券营收和净利润双双下降。年报显示,2024年,公司实现营业收入2.96亿元,同比下降0.57亿元,降幅为16.18%;利润总额为1557.65万元,同比下降1090.92万元,降幅为41.19%;净利润为1504.27万元,同比下降947.23万元,降幅为38.64%。
其中,在自营业务方面,川财证券表示加强市场研判,开展多区域、多主体实地调研,持续完善投研策略,克服债市波动,业绩总体表现稳定。
编辑:江右
校对:纪元
制作:舰长
《中国基金报》对本平台所刊载的原创内容享有著作权,未经授权禁止转载,否则将追究法律责任。
授权转载合作联系人:于先生(电话:0755-82468670)
