{{ countdown > 0 ? countdown + 's' : '获取验证码' }}

洞察金融市场

传播中国价值

Global Perspective, China Value

时空科技收购案,标的资产3156万元应收款客户存疑

2026-04-21 08:16

【导读】时空科技收购案,标的资产3156万元应收款客户存疑


见习记者 刘墨

因收购存储模组企业,时空科技(605178)自2025年10月发布收购预案后就颇受市场关注。2026年4月18日,该公司披露了收购标的——深圳市嘉合劲威电子科技有限公司的审计报告和评估报告。

在审计报告中,记者发现,截至2025年12月31日,嘉合劲威前五大应收账款单位有两家“神秘”公司,这两家公司应收账款期末余额达到3156.27万元,占所有应收账款余额的24.15%。令人费解的是,如此重要的客户,工商信息却显示“0”参保。

“0”参保


嘉合劲威的审计报告显示,截至2025年12月31日,嘉合劲威的应收账款期末余额为1.17亿元,其中深圳市和润原科技有限公司的应收账款期末余额为2156.43万元,深圳市东存科技有限公司及其关联方的应收账款期末余额为999.84万元。

图一:截至2025年12月31日,嘉合劲威的应收账款期末余额
嘉合劲威应收账款前五名.png

工商登记信息显示,深圳市和润原科技有限公司成立于2023年7月,注册资本为200万元,没有是否实缴资本的信息,参保人数亦未显示;深圳市东存科技有限公司成立于2020年12月,注册资本为500万元,实缴资本为350万元,参保人数为0。

图二:深圳市东存科技有限公司工商信息
深圳东存科技有限公司0参保.png

图三:深圳市和润原科技有限公司工商信息
深圳市和润原科技有限公司.png

根据时空科技披露的收购报告书草案,深圳市东存科技有限公司及其关联方是嘉合劲威的第一大客户,2025年销售金额为4.55亿元,占营业收入的29.56%;2024年销售金额为2.1亿元,占营业收入的19.84%。

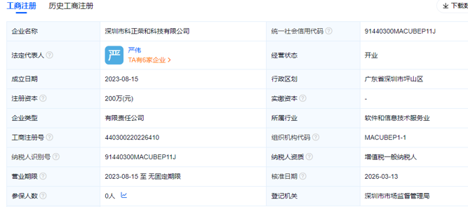
方案披露,深圳市东存科技有限公司、北京鑫锐驰纵横科技有限公司、深圳市科正荣和科技有限公司是同一控制下企业,前两者是嘉合劲威旗下阿斯加特品牌的经销商,后者是光威品牌的经销商。

工商信息显示,深圳市科正荣和科技有限公司成立于2023年8月,注册资本为200万元,无实缴资本显示,参保人数为“0”。

北京鑫锐驰纵横科技有限公司成立于2004年2月,注册资本为900万元,参保人数为20人。东存科技、科正荣和科技穿透后股东皆是严勇和严伟,而北京鑫锐驰为李翔100%控股。

图四:深圳市科正荣和科技有限公司工商信息
深圳市科正荣和科技有限公司.png

作为嘉合劲威第一大客户,东存科技参保人数为“0”,科正荣和科技参保人数为“0”,其采购金额高达数亿元,这些公司如何支撑起如此庞大的业务体量?其物流、仓储、销售团队在哪里?虽然北京鑫锐驰看起来最具实力,但它在这些关联方中究竟承担何种角色,外部投资者无从得知。如果是居于主要地位,为何不以北京鑫锐驰为核心披露标的,而要以东存科技为核心披露标的。

就深圳市和润原科技有限公司而言,该公司虽然没有进入嘉合劲威前五名客户,但从其应收账款余额占比来看,也是嘉合劲威新的大客户之一。那么,和润原科技这样一家新成立不久,实缴资本未知、注册资本仅200万元的公司,又如何支撑几千万元的销售体量?

嘉合劲威作为存储模组厂商,为何要将如此大比例的销售依赖于几家成立不久、人员极少的贸易公司?

尴尬的模组厂


据时空科技介绍,嘉合劲威主要业务系DRAM及Flash存储器应用产品的研发、设计、生产与销售,主要包括内存模组、固态硬盘和存储芯片,以消费级产品为主,是国内半导体存储领域的优质企业。

不过,从嘉合劲威的生产模式中,投资者或许可以更清晰地了解该公司的实际产品。比如内存模组的生产,其生产过程包括存储芯片测试筛选、SMT贴片、模组测试和包装,其原材料存储芯片、PCB板、其他辅材全部外购;固态硬盘的生产则主要通过第三方代加工方式生产,嘉合劲威向供应商采购固态硬盘后,通过软件烧录信息、品质检测、包装后对外销售;而存储芯片的生产,大部分直接采购成品芯片,经抽样检测后对外销售,少部分采购存储晶圆,委托第三方封装及测试后对外销售。

这意味着嘉合劲威的核心业务是将上游存储芯片转化为自有品牌的内存、SSD产品,本质是存储产业链的“组装+品牌运营商”。它的优点在于资本开支低、产能弹性强、业务模式灵活,它的核心成本是上游存储芯片,在存储价格上行周期中,可以快速将成本上涨传导给下游客户,避免利润被严重挤压。只要能拿到稳定的芯片供应,就可以维持相应的盈利。

问题也在于此,在晶圆紧张、原厂优先保障自有品牌和大客户订单的情况下,这类公司的采购配额会被大幅压缩。

实际上,从嘉合劲威披露的前五大供应商可以看出,该公司面临的存储芯片采购压力已现。2025年,该公司第一大供应商已由2024年的“振启国际有限公司及其关联方”变成“电子元器件和集成电路国际交易中心”,采购占比为17.04%。这是一个公共交易平台,本质上是“公开市场扫货”,意味着嘉合劲威的常规分销渠道已经拿不到足够的货,只能去公开市场竞价拿货,其成本和供应稳定性都难以得到保障。

图五:嘉合劲威前五名供应商
嘉合劲威供应商.png

编辑:赵新亮

校对:乔伊

制作:鹿米

审核:陈墨


版权声明

《中国基金报》对本平台所刊载的原创内容享有著作权,未经授权禁止转载,否则将追究法律责任。


授权转载合作联系人:于先生(电话:0755-82468670)

APP