【导读】圣元环保子公司投资私募基金亏损超4600万元,已向公安机关报警
中国基金报记者 李智
上市公司使用闲置资金购买私募基金产品,9个月基金净值竟跌至0.1846,亏损金额达4692万元。
12月26日晚间,圣元环保发布公告称,已向公安机关报警。
圣元环保子公司认购私募基金产品
基金净值大跌81.54%
12月26日,圣元环保发布公告称,公司全资子公司厦门金陵基建筑工程有限公司(以下简称厦门金陵基)于2025年3月认购私募基金产品,认购本金为6000万元。

截至12月25日,基金最新单位净值为0.1846,累计净值增长率为-81.54%,亏损金额约4692万元,超过公司最近一个会计年度经审计净利润的10%。
圣元环保表示,公司已向基金管理人提交了基金赎回申请,并于今日基金产品开放日正式启动赎回流程。公司已采取相关措施挽回损失,但本次投资可能存在部分投资本金无法收回的风险。
公司已向自然人温廷涛追回投资本金200万元,并向公安机关报警并已被受理,同时向中国证监会深圳监管局举报并收到材料接收证明。
基金净值急剧下降
或存在越权交易、伪造净值信息等行为
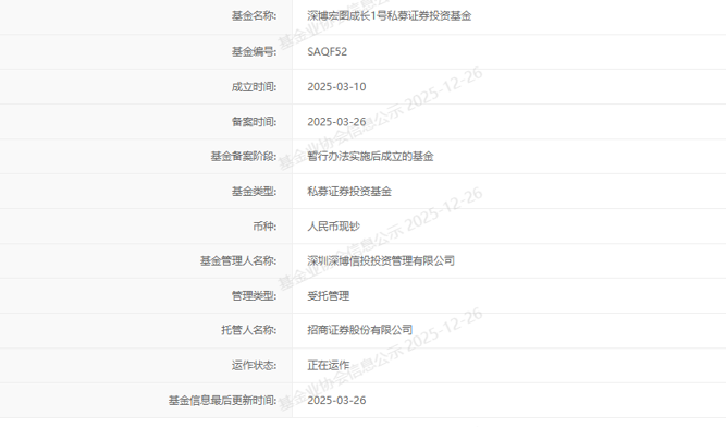
根据公告,2025年2月和3月,圣元环保下属全资子公司厦门金陵基使用闲置自有资金,作为单一投资者认购了由私募基金管理人深博信投发行的“深博宏图成长1号私募证券投资基金”产品,认购份额为人民币6000万元整。
基金合同中规定,当发生触及本基金止损线或预警线等重大事项时,基金管理人应在10个工作日内及时向基金投资者披露。
同时,深博信投向厦门金陵基出具《承诺函》,明确承诺当基金份额净值低于或等于0.80元时本基金所持有存款、证券保证金、备付金、货币基金、债券逆回购市值合计不低于本基金资产净值的50%,如不符合上述比例的,须在2个工作日内调整完毕;当基金份额净值低于或等于0.70元时,管理人应在2个工作日内将本基金持有银行活期存款以外的投资标的全部变现;本基金投资于国内证券交易所上市交易的存托凭证按市值计算占基金资产总值的比例为0%~25%。
12月9日,厦门金陵基与基金管理人沟通,计划赎回基金全部份额,并要求对方发送最新的净值表。但是却发现,12月11日的基金净值较12月4日出现急剧下降。

12月14日,圣元环保成立专项工作小组前往深圳现场与基金管理人沟通了解本基金产品情况并核查基金亏损原因。
经沟通,基金管理人提出由自然人温廷涛对公司投资产生的本金损失承担连带清偿责任,公司为第一时间挽回损失同意该做法。截至12月26日,厦门金陵基仅收到温廷涛支付的首笔款项人民币200万元整,第二笔款项及后续款项均未收到。
经了解,基金管理人深博信投在运作过程中,存在越权交易、违反信息披露义务,甚至伪造基金份额净值信息等违法违规行为,基金托管人存在未履行监督核查义务的违规行为,导致投资人厦门金陵基遭受重大损失。圣元环保已向公安机关报警并已被受理,同时向中国证监会深圳监管局举报并收到材料接收证明。
目前,圣元环保已向基金管理人发送书面告知函要求其中止交易并对所持仓股票进行平仓,基金管理人已将证券账户所有持仓进行了平仓。此外,公司已要求基金托管人对本基金产品账户进行了冻结处理,确保基金产品剩余财产安全。
公开资料显示,深博信投成立于2014年,注册资本为1000万元,全职员工11人,管理规模区间为0~5亿元。

深博信投的法人、董事长为张晓琴,此前曾在浦发银行深圳分行工作多年,历任客户经理、综合管理部负责人、第十六党支部书记、资金管理经理等职。
截至目前,深博信投共登记备案了13只产品。厦门金陵基认购的“深博宏图成长1号私募证券投资基金”是深博信投2023年11月以来发行备案的唯一一只产品。

编辑:赵新亮
校对:王玥
制作:舰长
审核:木鱼
注:本文封面图由AI生成
《中国基金报》对本平台所刊载的原创内容享有著作权,未经授权禁止转载,否则将追究法律责任。
授权转载合作联系人:于先生(电话:0755-82468670)
