【导读】云深处科技开启上市辅导,“杭州六小龙”已有3家冲刺IPO
中国基金报记者 邱德坤
中国证券监督管理委员会网上办事服务平台显示,杭州云深处科技股份有限公司(以下简称云深处科技)于2025年12月23日开启辅导备案,中信建投证券股份有限公司担任辅导机构。

云深处科技是“杭州六小龙”之一。目前,“杭州六小龙”已有3家明确冲刺IPO,其余两家分别是群核科技、宇树科技,其中群核科技冲刺港股IPO、宇树科技在2025年11月完成上市辅导。
云深处科技披露上市辅导时间
上市辅导备案报告显示,2025年12月8日,云深处科技与中信建投证券股份有限公司签署辅导备案协议。
云深处科技的上市辅导时间为2025年12月至2026年6月;2026年2月至2026年3月,确定募集资金投向和其他投资项目的规划;2026年4月至2026年6月向浙江证监局提交辅导验收申请。
上市辅导备案报告显示,云深处科技成立于2017年11月29日,注册资本达823.4958万元,法定代表人为朱秋国。
朱秋国是云深处科技的控股股东及实际控制人。朱秋国及其一致行动人,合计控制云深处科技32.60%的股份。

公开资料显示,云深处科技聚焦于具身智能的技术创新与行业应用,是专注于四足机器人、人形机器人及核心零部件的研发、生产、销售和服务的国家级高新技术企业。
2025年,云深处科技相继推出轮足复合的四足机器人山猫M20、行业级人形机器人DR02,并且建成具身智能中试基地。
云深处科技2025年资本运作不断
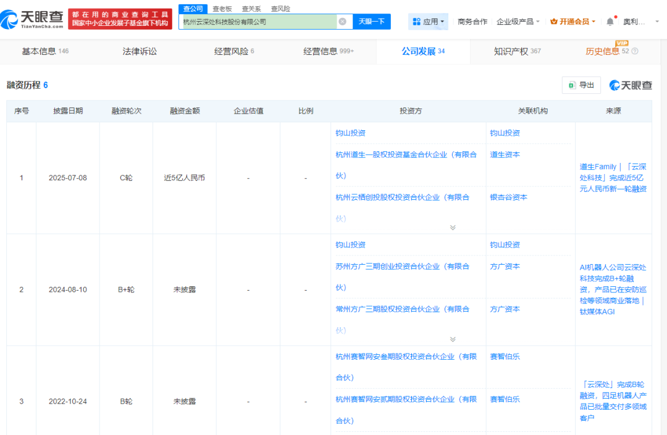
2025年,云深处科技的融资进程加快,7月8日、12月9日,各完成一轮融资。

2025年12月9日,该公司宣布,已经完成超5亿元C轮融资,将为其技术研发、扩大产能及市场拓展提供资金保障。
彼时,云深处科技创始人兼CEO朱秋国表示:“2025年是云深处科技快速发展的一年,业绩实现快速增长。”
同时,云深处科技在2025年完成股改。天眼查显示,2025年10月31日,云深处科技的市场主体类型从“其他有限责任公司”变为“其他股份有限公司(非上市)”。

云深处科技相关负责人表示:“此次股改更多是因为公司发展需要,完成相应前期准备。”
如今看来,云深处科技通过股改完成相应前期准备,或与其开启上市辅导备案有关。
编辑:杜妍
校对:王玥
制作:鹿米
审核:木鱼
注:本文封面图由AI生成
《中国基金报》对本平台所刊载的原创内容享有著作权,未经授权禁止转载,否则将追究法律责任。
授权转载合作联系人:于先生(电话:0755-82468670)
