【导读】德邦基金20%股权再次挂牌转让
中国基金报记者 若晖
时隔大半年时间,德邦基金20%股权再次出现在公开市场寻求转让。
浙江产权交易所官网显示,浙江省土产畜产进出口集团拟将所持有的德邦基金20%股权转让,信息披露日期为4月9日至4月15日。
事实上,早在2025年6月,浙江省土产畜产进出口集团就已尝试转让该股权,如今已是第二次挂牌,此次转让价格为1.28亿元,相比于前一次挂牌转让底价1.42亿元,降价幅度约10%。
德邦基金20%股权再次挂牌转让
德邦基金20%股权再次走上挂牌转让之路。
据浙江产权交易所官网披露,浙江省土产畜产进出口集团公开转让所持有的德邦基金20%股权,信息披露日期为4月9日至4月15日。德邦基金股东——德邦证券股份有限公司未表示放弃优先购买权。

事实上,早在2025年6月27日,浙江省土产畜产进出口集团就已尝试转让该股权,此次已是第二次挂牌转让。
德邦基金20%股权价格也在多次拍卖中逐渐下调。此次重新挂牌转让的价格为1.28亿元,相比于前一次挂牌转让底价1.42亿元下降了1422万元,降幅约10%。
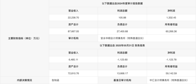
拍卖公告也同时披露了德邦基金的经营情况,德邦基金2024年实现营业收入2.22亿元、净利润1332.45万元;2025年前5个月,实现营业收入6485.11万元,净利润亏损1123.78万元。

谈及20%股权转让,德邦基金曾表示,公募基金公司与股东有业务隔离的要求。公司与股东在业务上一直保持独立,基金管理、投资决策等核心环节均严格遵循监管要求及公司内部制度,本次非控股股东的股权变动对公司的日常经营无影响。
旗下公募基金管理规模接近700亿元
公开资料显示,德邦基金成立于2012年3月27日,注册资本为5.9亿元,是中国证监会批准设立的第70家基金管理公司,总部位于上海,系国有控股金融企业。目前两大股东——德邦证券和和浙江土产畜产进出口集团分别持有德邦基金80%、20%的股权。
过去几年,德邦基金旗下公募基金管理规模增长势头强劲。Wind数据显示,2022年末,德邦基金公募规模只有261.21亿元,到了2023年末增至515.51亿元,2024年进一步增至576.05亿元,2025年正式突破600亿元整数关,达到696.73亿元。尤其是权益基金(股票型+混合型)规模从2024年末的46.77亿元增至2025年末的204.74亿元。
近期,德邦基金还迎来“掌门人”变更。2月14日,德邦基金发布高管变更公告称,左畅因工作调整不再担任公司董事长,该职位暂由德邦证券总经理、财务总监武晓春代任。
编辑:格林
校对:纪元
制作:小茉
审核:陈墨
注:本文封面图由AI生成
《中国基金报》对本平台所刊载的原创内容享有著作权,未经授权禁止转载,否则将追究法律责任。
授权转载合作联系人:于先生(电话:0755-82468670)
