
中国基金报记者 安曼
当年风靡全国的小黄车,又有了新消息!
22日一早,“ofo小黄车已彻底无法登录”冲上微博热搜。截至目前,已经有1.9亿的阅读。

究竟发了什么?一起来看看。
ofo小黄车已无法登录
用户收不到短信验证码
据新黄河报道,昨日,下午有网友反映,ofo小黄车客户端已经无法接收到短信验证码,用户无法登录。

经过在ofo苹果和安卓客户端多次测试,同样无法收到验证码短信。使用ofo小程序测试,则提示网络异常。
作为受害者之一的基金君,多次拨打ofo官方400客户电话,提示无法接通;拨打该公司官网公布的办公电话,提示已关机。
上一次基金君登录ofoAPP查看退款记录的时候,基金君还排在1500多万位之后。而且基金君还是押金199元的那位。

不过,也有网友表示,可以通过手机号登陆,但是基金君多方尝试,总是提示“验证码错误”,无法登录。
网友炸了
如果没有这条热搜,估计很多人已经把小黄车遗忘在了角落里。没想到,该消息出来之后,网友瞬间炸了。
不少网友表示,以前还能登上APP查个退款进度,现在连登录都无法登录,退还押金彻底无望了。



创始人已成“老赖”
一年多来,ofo及其关联公司一直处在风口浪尖之上。
今年2月2日,ofo关联公司北京拜克洛克科技有限公司新增的一条被执行人信息显示,海淀区市场监督管理局于2020年11月对拜克洛克公司骗取消费者价款或者费用而不提供或者不按照约定提供商品或者服务的违法行为罚款15万元,经催告后拜克洛克公司仍未履行义务,故申请强制执行,法院于2022年1月裁定准予执行。
今年1月,ofo关联公司东峡大通(北京)管理咨询有限公司新增一则恢复执行信息,执行标的2276万余元,案由为买卖合同纠纷,执行法院为上海市浦东新区人民法院。
司法信息显示,去年,因拖欠天猫5亿余元借款,ofo关联公司上海奥佛合盛网络科技有限公司、立方灵动(北京)数据服务有限公司被天猫公司诉至法院。因无财产可供执行,东峡大通(北京)管理咨询有限公司多次被起诉。
ofo小黄车创始人戴威(图源:百度百科)
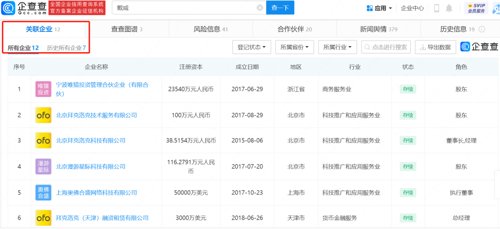
企查查APP显示,目前ofo小黄车创始人戴威关联有宁波唯猎投资管理合伙企业(有限合伙)、北京拜克洛克科技有限公司、上海奥佛合盛网络科技有限公司等12家公司,并在其中6家公司担任董事长、总经理、执行董事等职务。
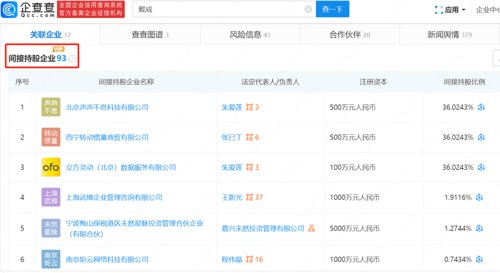
此外,通过股权投资戴威间接持有93家企业股权,商业版图涉及租赁和商务服务业、金融业、科研、IT等。
值得关注的是,ofo小黄车关联公司东峡大通(北京)管理咨询有限公司目前被执行金额已超2817万元,失信被执行金额达6446万元。
同时,戴威也因关联企业未履行法定义务,已被法院列为失信被执行人(老赖), 目前共有38条被限制高消费信息。





