中国基金报记者 李智
“资本教父”刘绍喜旗下的宜华系再出问题?
1月7日晚间,宜华健康发布公告称,公司存在违规担保情形,涉及公司可能承担的债务本金约为4255万元,公司股票交易可能被实施其他风险警示。
宜华健康存在违规担保情形
可能被实施其他风险警示
根据《民事判决书》,宜华健康于2019年3月向宜华集团的债权人杜某出具《担保书》,为宜华集团向杜某人民币1.5亿元的借款提供连带责任担保。

后因宜华集团未能按期偿还本金及利息,债权人杜某以民间借贷纠纷为由向北京市第一中级人民法院提起诉讼。法院认为宜华健康所提供的担保,属于为公司股东或者实际控制人提供关联担保的情形,必须由该公司股东大会决议,若未经股东大会决议,则构成越权代表。
根据相关证据法院认定,杜某在订立《担保书》过程中,宜华健康仅与其签订《担保书》并未提供有效的公司章程及股东大会决议,杜某亦未能提供证据证明其对宜华健康股东大会决议履行合理的审查义务,故杜某主观上不构成善意。据此,涉案《担保书》在效力上应属于效力待定,在宜华健康未予追认的情况下,应当属于无效担保。依据相关规定,宜华健康对《担保书》的无效存在过错,法院酌定宜华健康对宜华集团公司不能清偿部分的二分之一承担连带赔偿责任。
同时,宜华健康在公告中表示,上述违规担保事项涉及公司可能承担的债务本金约为人民币4255万元及利息,约为公司最近一期经审计净资产的15.45%。如在本公告披露之日起一个月内,控股股东不能解决违规担保问题,根据深交所的相关规定,公司可能会被实行其他风险警示。
针对上述问题的解决方案,宜华健康要求宜华集团尽快向公司完整、真实、准确提供该违规担保事项涉及的全部信息,并要求宜华集团尽快偿还债务,避免给公司造成损失。
宜华健康早盘一度跌停
受消息影响,宜华健康今日早盘一度跌停,有网友表示,“果然是一字断魂刀。”不过随后宜华健康盘中撬开跌停板,截至午间收盘该股报3.64元,总市值31.9亿元。

有股民表示,“跌停卖出了,2022年第一个亏损。”“一买就跌,一卖就涨?服了。”





宜华健康问题重重
控股股东所持股份被轮候冻结
违规担保一事也反映出宜华健康内部管理情况,问题重重。此前,宜华健康曾披露公告称,公司及子公司拟将部分原自用房产改为长期对外出租,自2021年10月31日起计入投资性房地产并后续以公允价值计量;对原来以成本模式计量的投资性房地产,自2021年1月1日起,进行会计政策变更,由成本计量模式变更为公允价值计量模式。同日,宜华健康还披露了另一则公告表示,东方资产管理公司深圳分公司同意不可撤销并无条件豁免公司全资子公司众安康后勤集团有限公司债务本息共计4663.04万元。
2021年12月29日,宜华健康收深交所关注函,要求其说明关于本次房产会计政策变更的合理性,以及债务豁免事项对公司财务报表科目的影响等。
此外,宜华健康控股股东所持7062.55万股被轮候冻结。截至2021年12月16日,控股股东宜华集团累计被冻结股份约2.19亿股,占其所持股份比例的75.65%,占公司总股本的25%。

近年来的宜华健康不断“瘦身”,尝试通过这一方法实现翻身。宜华健康2021年12月13日晚间发布公告称,公司经与广医堂协商,公司将持有的汕尾宜华岭南70%股权,以519.84万元价格转让给广医堂。同时,汕尾宜华岭南向公司支付所欠债务380.16万元。此前宜华健康子公司还拟作价170万元,转让合肥仁济肿瘤医院99%出资份额。
*ST宜生已被摘牌
“资本教父”刘绍喜被终身禁入
目前,宜华集团的情况估计也是“一团糟”。去年10月,中国证监会下发了对宜华生活的《行政处罚决定书》以及《市场禁入决定书》,令其责令改正,给予警告,并处以600万元的罚款。另外,包括宜华生活实际控制人刘绍喜在内的19位董监高给予警告、罚款,全案违法主体合计罚款3885万元。
而刘绍喜因宜华生活财务造假,被罚终身禁入证券市场,宜华生活也被摘牌,自此宜华系变得风雨飘摇。

证监会披露的处罚决定书指出宜华生活涉及的“三宗罪”:以虚构境内销售业务、高报出口货物销售额等虚增营业收入;通过财务不记账、虚假记账、伪造银行单据等方式虚增货币资金;财务报告存在重大遗漏。
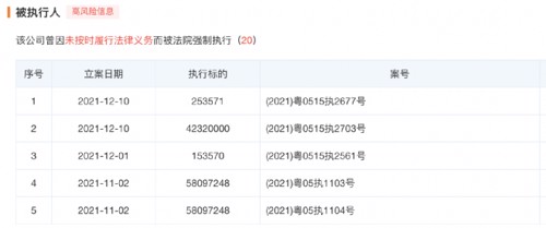
天眼查数据显示,宜华集团曾因未按时履行法律义务而被法院强制执行的案件近20件。

据了解,刘绍喜有着“潮汕资本教父”之称,缔造的“宜华系”商业帝国,号称拥有资产850亿元。2019年的《胡润百富榜》,刘绍喜以75亿元身家位列531位。
刘绍喜曾在24岁时白手起家,创办家具厂,又被称为“木业大王”。据悉,刘绍喜旗下宜华集团,是一家集住居生活、医疗养老、地产酒店、资本金融四大产业于一体的大型跨国企业集团,员工5000多人。辉煌时期一度拥有两家上市公司,即宜华生活(已被摘牌)和宜华健康,拥有国内企业和境外办事机构20多家。
目前,宜华集团持有宜华健康2.9亿股,占总股本比例33.04%。宜华健康曾为宜华集团旗下地产业务平台,后宜华健康转型医疗业务,并在2015年正式由宜华地产更名为宜华健康。

编辑:舰长

