中国基金报记者江右
导语:大象起舞跳的欢。
大家都晓得贵州茅台股价今年涨的猛,已经翻倍(截至今日106.88%)。实际上,有一只万亿市值的股票,比茅台涨得还凶,并且成为带动上证50、沪深300等指数上涨的重要推手。这只股票就是中国平安,昨天投资者日,它的首席财务官还说科技板块的价值没得到体现。
股价今年以来暴涨128%
在昨天投资者开放日之后,中国平安股价今天再度飙涨。A股股价大涨3.61%。港股在A股收盘后继续拉升,至收盘报涨8.84%,再创历史新高。
图1:中国平安港股近期K线图

昨天与投资者交流中,中国平安首席财务执行官兼总精算师姚波表示,在“金融+科技”双驱动战略布局下,平安孵化的一系列互联网科技企业,到了一定的阶段就会拿到市场上,让市场认可它的价值,这个价值目前仍未在公司价值中体现。
在今日股价再度飙涨之后,中国平安股价今年以来涨幅继续扩大,A股年内涨幅达128.16%,港股则是上涨了129.36%。与近日股价处于调整中的茅台相比,涨幅差距增大,茅台今年以来涨幅为106.88%。
值得注意的是,中国平安的市值比茅台还大不少,真正的万亿市值巨头。截至今日收盘,中国平安总市值1.4万亿元,贵州茅台的总市值8508亿元。都说茅台市值是贵州省2016年GDP(1.17万亿元)的70%多,市值很大,平安的市值却是比贵州2016年GDP还高。
市值即将赶超中石油:再涨约2 %就够了
股价持续大涨,中国平安的总市值在A股上市公司中,已经位列第四,超越四大行中的农业银行和中国银行,仅次于工商银行、建设银行和中国石油。
中国平安在A股公司市值排名

看目前的架势,只要再来一个涨停,平安的市值将超过中国石油和建设银行,进击为A股市场第二大市值公司。
中国石油市值曾经高达8万亿元,如今为1.424万亿元(A股港股合计)。
中国平安的1.395万亿元(A股港股合计)距离中国石油的1.424万亿元,仅差290亿元。只要平安股价再涨2.08%就赶上中石油了。
在A股市场有望成为二号人物,实际上在保险行业内,中国平安早已超越中国人寿,成为国内市值第一大保险公司,不断上涨也已经成为了全球第二大市值保险公司,仅次于股神巴菲特的伯克希尔哈撒韦公司。
按照1美元兑换6.632元人民币的汇率计算,中国平安市值为2103亿美元。目前伯克希尔哈撒韦A、B股合计市值为4467亿美元。当然,伯克希尔这家公司在外人看来更像一家投资公司,以保险的钱用于投资。
从估值的角度来看的话,如果将中国平安和伯克希尔进行简单对比的话。前者是比后者估值高的。目前中国平安的市盈率接近20倍,市净率已经超过3倍;而即使以估值更高的伯克希尔B股来看,市盈率为13倍,市净率不到1倍。
不过,一位券商的分析师认为,不能简单将两家公司对比,因为前者是做投资赚钱,后者是保险行业发展赚钱。
图3:中国平安的估值指标

图4:伯克希尔B股估值指标

上证50、沪深300等指数上涨重要推手
还有,对于今年指数牛市中,依然亏钱的投资者来说,如果看到中国平安和茅台在一些主要指数,尤其是上证50、沪深300中的占比,就会明白为什么指数能这么大涨。
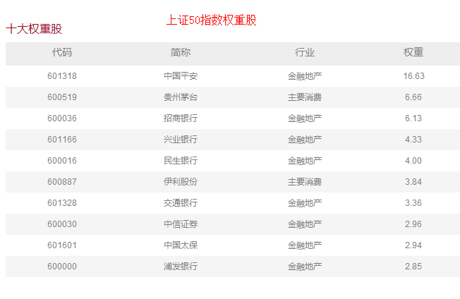
先看看上证50的权重股(图5):

前三大权重股:中国平安+贵州茅台+招商银行,16.63%+6.66%+6.13%,合计占比高达29.42%。
以今年四季度为例,中国平安的涨幅为44.83%,上证50指数涨幅为11.78%,按权重16.63%,中国平安一只股票就给指数贡献了7.46%的涨幅,再加上茅台和招行四季度分别上涨了30.83%和18.83%。基本上这3只股票就把指数推上去了。
考虑平安和茅台在上证50中的权重,以及平安和茅台今年以来的涨幅,大概可以算出,平安的上涨对上证50指数的贡献是茅台的3倍,比茅台的贡献大2倍。
再看看沪深300的权重股:

前三大权重,依然是中国平安、贵州茅台、招商银行。
即使在上证指数中,中国平安也是第五大权重股。

